九州酷游官网

钢丝封条系列

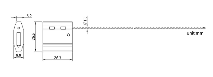
JCCS002

材质由铝合金和A3钢丝绳组成

有红、黄、橙、蓝、绿等多种颜色,可定制

适用于阀门、集装箱、电表箱、桶类封装、物流运输车、货柜箱、等行业。

钢丝封条JCCS002

钢丝封

编号

JCCS003

JCCS002

JCCS001

JCBS004

JCCS005

JCCS006

JCCS007

JCCS008

锁体尺寸

26.2*27.3*9

26.3*26.5*8.8

29.3*

20.2*7.5

35*41*

13

29*20.3*7.8

26*22*6

26*26*7.5

直径

4.0mm

1.5mm

1.8mm

2.5mm

3.5mm

1.8mm

1.5mm

5.0mm

1.5mm

1.0mm

1.5mm

1.8mm

2.5mm

3.0mm

3.5mm

拉力

>15KN

>3.5KN

>6KN

>12KN

材质

铝合金

制造工艺

氧化着色

颜色

红、黄、橙、蓝、绿等

钢丝绳材质

A3钢

钢丝绳长度

可按客户要求定制

钢丝绳规格

7*7

打标方式

激光打标/烫印

打标内容

数字、字母、标志、条形码等

用途

超市、石油、集装箱、铁路货箱、电表箱、银行钱袋等

包装

100条/袋,1000条/箱,可按客户指定方式定制包装

山东省庆云县九州酷游官网锁业有限公司位于山东与京津冀交接的枢纽之城德州市庆云县,公司成立于1990年,2008年正式改名为“九州酷游官网锁业”,是中国较早专注于铅封锁具和仓储物流终端产品研发的制造企业之一。自成立以来,发挥行业作用,为封条行业以及仓储物流产业、中国智慧物流发展做出了不菲的贡献。

企业自建厂房占地面积二万多平方米,设备460多台,员工300余名,有高水准的研发团队及高素质的员工队伍。集仪表铅封、一次性封条、高保封、电子铅封、塑料扎带、GPS定位封、周转箱等产品的研发、设计、生产、销售为一体。 经过十多年的发展,已成为规模与影响力的仓储物流终端产品的综合提供企业,企业年产值连续4年2亿元以上。

公司是中国石油、中国海油、中国石化的合格供货商;是国家电网、南方电网的常年供应商;是中铁快运、顺丰快递、京东物流等物流企业的重要合作伙伴。产品适用于铁路、航空、港口、电力、石油、化工、邮政、通信、制药等行业领域。服务网络覆盖至全球市场。 在新老客户中树立了良好的声誉,达成了长期稳定的合作关系。

上一产品:JCMS103

下一产品:JCCS003

其他同类产品


©2018 CopryRight 九州酷游官网锁业 版权所有 备案号: